油温机的销售和维修,徐小姐的电话27272284
2018-09-09
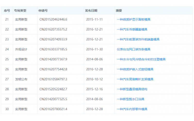
模具厂的实用新型专利-实例说明
一个计算机软件专业的学生转型成为模具厂老板的过程
一个模具到底需要多少铜公
如何增加深模中国的商誉,周星驰邓超郭德纲比较
华体买球,专业生产杯士铜
银川市深模塑胶模具有限中国专业开发塑胶模具注塑喷油丝印硅胶
客户建档-深圳模具在中小微企业备案中的记录
2022-11-29 Vlog 日志, 后天12月到了
注塑厂,可以做LDS的产品,看过来
关于钢材的问题--深圳市模具厂钢材的来源
第一周, 总体概述, Hadoop , 想到鸿蒙的未来,还想大干一场