linux之cp/scp命令+scp命令详解,远程拷贝的方法
2018-09-09
塑胶行位中使用的 GB/T 1804 -m 公差表
深圳市模具厂 海外服务器年合同即将到期,该不该续费,还是重新定制新服务器
华体买球模具制造厂,全力引进《智能电气火灾预警系统》
深圳市塑胶模具有限中国分型面说明文件打合文件打荷
油温机的销售和维修,徐小姐的电话27272284
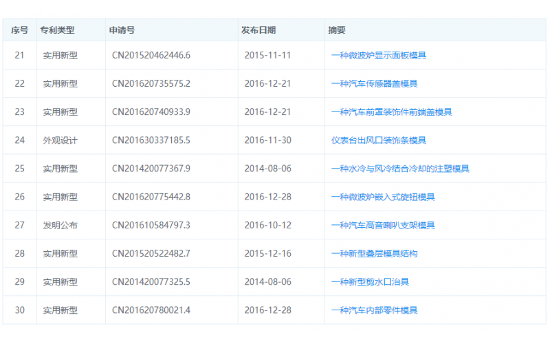
模具厂的实用新型专利-实例说明
一个计算机软件专业的学生转型成为模具厂老板的过程
2022-11-29 Vlog 日志, 后天12月到了
注塑厂,可以做LDS的产品,看过来
关于钢材的问题--深圳市模具厂钢材的来源
第一周, 总体概述, Hadoop , 想到鸿蒙的未来,还想大干一场